首页BEZ

胆牛前级

2A3/300B/6C33C

胆功放

211/805/845/GM70

胆功放


807/813/EL34/KT88/
EL156/FD422/FU19/
FU25/FU50/

胆功放

喇叭 

6P1-6P3P-6P6P-6P9P-6P14-6P12P-6P13P-6N5P-6F3
胆功放/耳机功放

机箱/盘架/机盒/机板/螺钉螺母垫片/金属件

电影 喇叭
放映机
扩音机
分频器

晶体管 杂件

唱机 唱片 磁带

电子管及管座管帽

电容电阻电位器

胆机输出牛电源牛扼流圈

牛罩牛盖

发烧线材接插件及旋钮

 

古董收音机收信发射机及配件

 

 116型短波150W发射机 222-1短波收信机拆件

发射机高频高压-电容-线圈-开关-配件拆件

7512型接收机拆件

指示灯座灯泡

电子仪器仪表

[1]输出牛 [2]电源牛扼流圈,牛罩牛盖 刷新于2026.01.02
本推出输出变压器系列产品,用最新的胆机发烧理念精心设计,采用日本新日铁公司冷轧无取向高硅(H10/0.35EI)音频专用片,线包采用优质无氧铜漆包线,分层分段,每层用纯木浆绝缘纸绝缘,精心绕制,用先进的浸漆工艺,使变压器具有良好的绝缘及防潮性能,声音通透纯真,音色甜美温醇,解晰力度颇佳,并配以高档不锈钢冲压端盖,不锈钢折压方罩,外形美观大方.为广大胆烧友首选.产品远销世界各地。

输出牛
照片
初级阻抗
(KΩ)
次级(Ω)
频响HZ
(-2dB)
铁芯(mm) 舌宽× 叠厚

每只

重量(kg)

外形尺寸
长宽高(mm)
适 用 管
配盖罩
每对价
不配盖罩

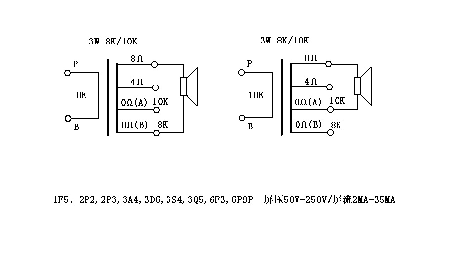
8K/10K可变

接线图

4/8
50-16K
12x16
0.23
46x34x40

1F5,2P2,2P3,3A4,3D6,3S4,3Q5,6F3,6P9P

屏压50V-250V/屏流2MA-35MA

包夹式

每只

45元

12K/15K可变

接线图

4/8
50-16K
12x16
0.23
46x34x40

1F5,2P2,2P3,3A4,3D6,3S4,3Q5,6F3,6P9P

屏压50V-250V/屏流2MA-35MA

包夹式

每只

45元

5K
3.5
50-10K
14x12
0.16
43x27x34
6P1,6P6P(有2个)
包夹式

每只

35元

5.5K
4
50-10K
12x18
0.24
47x35x40
6P1,6P6P,6P14
包夹式

每只

40元

5K/7K可变
4/6/8
50-10K
16x21
0.4
59x50x41
6P1,6P6P,6P14(有2个)
包夹式

每只

50元

12.5W线间牛

天津70-80年代生产的库存新品

0-0.5K-1K-2K-3K
8/16
40-12K
20x24
0.55
65x50x54

可用于胆机输出

/
每只20元

15W线间牛

天津70-80年代生产的库存新品

0-0.415K-0.83K-1.66K-2.5K

8/16
40-12K
20x24
0.55
66x51x54

可用于胆机输出

/
每只25
----
---
---
---
0.3
---
---
 

每只

70元

5.5K
40-18K
16x24
0.5
59x45x53

6P1,6P6P,6P14,6F3,

上无27厂库存货,CD-3.5-80型收音机单端输出牛。

由于是80年代生产的,因年代久远,

难免有少许锈迹,但不能以此为由要求退换货。

本厂实机电路图 SD-2 本厂实机电路图 SX-2

包夹式
售完

出线图

初级阻抗/5K/内阻约300欧

电感约为10H

做电感接法/1-2-3-4-5-6-7,内阻约450欧,电感约为20H/0.07A。

3.2Ω/600Ω/3000Ω
20-20K
 /
1.12
66x80x86

可用胆 6P1,6V6,6P6P,6P14,EL84

可用做:胆前级,无源前级,推动,唱头升压,阻流圈。

做电感接法/1-2-3-4-5-6-7,内阻约450欧,电感约为20H/0.07A。

铁壳密封

每只

128元

5.5K
4/8
20-30K
57片19x25
0.5
59x48x53

6P1,6P6P,6P9P,6P12P,6P13P,6P14,6F3

本厂实机电路图 T1A-1

包夹式

每只

85元

6.5W单端1K
/
1K
4/8
20-30K
19x27
0.78
58x57x67

6P1,6P3P,6P6P,6P14 (阴极输出)

/

每对

清仓价

180元

6.5W单端3K

32Ω/120Ω

耳机牛

可用做推动牛

3K
32Ω/120Ω
20-30K
19x27
0.8
67x60x58

6P1,6V6,6P6P,6P14,EL84

可用做推动牛

*

包夹式

每对

清仓价

180元

6.5W单端3K/4K

32Ω/64Ω/100Ω/200Ω

耳机牛

可用做推动牛

3K/4K
32Ω/64Ω/100Ω/200Ω
20-30K
19x27
0.78
58x57x67

6P1,6V6,6P6P,6P14,EL84

可用做推动牛

***

/

每对

清仓价

180元

4.2K/5.2K可变
4/8
20-30K
19x27
0.78
58x57x67
/

每对

230元

2.5K/3.3K/4K可变
4/8
20-30K

78片

22x45

1.7
67x78x81

6P3P,2A3,300B,EL34,KT88,FU7,FU50

本厂实机电路图 T3A-7 (FU7)

本厂实机电路图 T3B-8 (300B)

/

每对

318元

2.5K/3.3K/4K可变
4/8
20-30K

96片

32x38

2.3
80x75x98

6P3P,2A3,300B,EL34,KT88,FU7,FU50

本厂实机电路图 T3B-2

本厂实机电路图 T30A-34

本厂实机电路图 T3B-5 (300B)

不锈钢盖580

每对

480元

2.5K/3.3K/4K可变
4/8
18-35K

96片

32X43

2.5
80x80x98

6P3P,2A3,300B,EL34,KT88,FU7,FU50

本厂实机电路图 T3B-5D (300B)

不锈钢盖

640

每对

540元

3.5K/4.5K可变
0/8/16
18-35K

96片

32x50

3.0
80x87x98

6P3P,2A3,300B,EL34 KT88,FU7,FU50

/

只有一600

1.6K
4/8
18-35K

96片

32x50

3.0
80x87x98

6P3P,2A3,300B,EL34 KT88,FU7,FU50并管

/

只有一600

2.5K/3.3K/4K可变
4/8
18-35K

96片

32x50

3.0
80x87x98

6P3P,2A3,300B,EL34 KT88,FU7,FU50

不锈钢700

每对

600

600Ω
4/8
10-50K

96片

32x60

3.45
80x96x98

6N5P并管,6C33C-B 单管

本厂实机电路图 T7A-33 (6C33C)

不锈钢盖780

每对

680

1.4K/1.8K可变
4/8
10-50K

96片

32x60

3.45
80x96x98

6P3P,2A3,300B,EL34 KT88,FU7,FU50,6N5P,300B并管

实用300B并管单端电路1

实用300B并管单端电路2

不锈钢盖780

每对

680

3.5K/4.5K可变

4/8
10-50K

96片

32x60

3.45
80x96x98
300B,KT88,EL156,FU13
不锈钢盖780

每对

680

5K/6K可变
4/8
10-50K

96片

32x60

3.45
82x96x98
不锈钢盖780

每对

680

6K/7K可变
4/8
10-50K

96片

32x60

3.45
80x96x98
不锈钢盖780

每对

680

6K/7K可变
4/8/16
10-50K

96片

32x60

3.45
80x96x98
/

特价清仓

每对

620

7K/8K可变
4/8
10-50K

96片

32x60

3.45
80x96x98
不锈钢盖780

每对

680

8K/9K可变
4/8
10-50K

96片

32x60

3.45
80x96x98
不锈钢盖780

每对

680

75W单端3.5K/3.5K

特价清仓变压器

双组 3.5K/3.5K

原来设计是并管单端300B使用

4/8
10-50K

114片

38x70

5.7
95x116x117

库存了数年,外观稍为有锈迹,看起来较久。

初级阻抗:3.5K+3.5K (双抽头P1,P2 B1,B2.

原来设计是并管单端300B使用,

也可以将P1,P2 和B1,B2.接一起,作为普通单端牛使用。

/

每对

800

*

3.5K/4.5K可变
4/8
10-50K

114片

38x70

5.7
95x116x117

300B,FU33,FU80,FU81,212

 

本厂实机电路图T4D-5:

不锈钢盖1110

每对

990

75W单端6K/7K
6K/7K可变
4/8
10-50K

114片

38x70

5.7
95x116x117
不锈钢盖1110

每对

990

75W单端8K/9K
8K/9K可变
4/8
10-50K

114片

38x70

5.7
95x116x117
805,845,211,813,GM70,212
不锈钢盖1040

每对

990

9K/11K可变
4/8
10-50K

114片

38x70

5.7
95x116x117
805,845,211,813,GM70,212
不锈钢盖1110

每对

990

4K/5K可变

4/8
10-50K

132片

44x70

7.5
132x110x120

805,845,211,813,GM70 并管

FU33,FU80,FU81,212

本厂实机电路图 1

本厂实机电路图 2

卧式

每对

1190

6K/7K可变

4/8
10-50K

132片

44x70

7.5
132x110x120

805,845,211,813,GM70

FU33,FU80,FU81,212

本厂实机电路图 1

本厂实机电路图 2

卧式

每对

1190

3K/4K可变

4/8
10-50K

132片

44x80

8.8
132x110x130

805,845,211,813,GM70 并管

FU33,FU80,FU81,212

本厂实机电路图 1

本厂实机电路图 2

卧式

每对

1280

4K/5K可变

4/8
10-50K

132片

44x80

8.8
132x110x130

805,845,211,813,GM70 并管

FU33,FU80,FU81,212

本厂实机电路图 1

本厂实机电路图 2

卧式

每对

1280

6K/7K可变

4/8
10-50K

132片

44x80

8.8
132x110x130
805,845,211,813,FU33,FU80,FU81,212
卧式

每对

1280

250Ω
4/8
15-50K

96片

32x34

2.2
80x67x98
6N5P,6N13P并管
/

每对

420

10K
20-50K

66片

22x28

0.8
68x60x58
6P1,6P6P,6P9P,6P12P,6P13P,6P14,6AQ5
包夹式

清仓价

每对

248

8K/10K可变
4/8
20-50K

66片

22x32

1.1
68x68x58
6P1,6P6P,6P9P,6P12P,6P13P,6P14,6AQ5
包夹式

清仓价

每对

310

8K/10K可变
4/8
20-50K

78片

22x32

1.26

67x66xx81

6P1,6P6P,6P9P,6P12P,6P13P,6P14,6AQ5
立式

每对

350

25W推挽3K/5K
/
3K/5K可变
4/8
18-60K

96片

32x36

2.1
80x68x98
6N5P,2A3,300B(6P1,6V6,6P14并管)
不锈钢盖520

每对

420

5K/6.6K/8K可变
4/8
18-60K

96片

32x36

2.1
80x68x98
6P3P,FU7,EL34,(6P1,6V6,6P14(并管)
不锈钢盖520

每对

420

1.8K
4/8
16-70K

96片

32x40

2.3
80x72x98

6P3P,FU7,EL34,KT88,(三极管接法)6N5P(((三三(极(三

/

清仓价

每对

380

5K/6.6K可变
4/8
16-70K

96片

32x40

2.3
80x72x98
6P3P,FU7,EL34
不锈钢盖590

每对

490

1.8K
4/8
15-80K

96片

32x48

2.7
80x86x100

6P3P,FU7,EL34,KT88, /三极管法/6N5PEL34,KT88,6N5P(并管)EP3P,6U7,EL34,KT88管接法N5P(并管)N5P(并管)L34,KT88,6N5P

/

清仓价

每对

430

4K
4/8
15-80K

96片

32x48

2.7
80x86x100
6P3P,FU7,EL34,KT88,2A3,300B
不锈钢盖680

每对

580

5.5K
4/8
15-80K

96片

32x48

2.7
80x86x98

6P3P,FU7,EL34,KT88,2A3,300B

本厂实机电路图 T7B-88A

不锈钢盖680

每对

580

飞跃50W推挽

CB-50-34A

6.9K

0/监听/4Ω/

8Ω/16Ω/250Ω

/
30x38
2.7
106x90x76

飞跃50W推挽/FU7 X2

娄东电子元件厂

/

售完

飞跃150W推挽

CB-150-51A

初级阻抗
(3.5KΩ)

次级阻抗(Ω)

100Ω(123V)

150Ω(150V)

200Ω(173V)

250Ω(193V)

监听4Ω-8Ω

/
30x56
3.9
106x90x93

飞跃150W推挽/FU7 X4

娄东电子元件厂 ***

/

每只

300

1.8K
4/8
10-80K

96片

32x60

3.4
80x98x98

6P3P,FU7,EL34,KT88,6N5P(并管)

不锈钢盖790

每对

690

4K
4/8
10-80K

96片

32x60

3.4
80x98x98
6P3P,FU7,EL34,,KT88,300B
不锈钢盖790

每对

690

5.5K
4/8
10-80K

96片

32x60

3.4
80x98x98
不锈钢盖790

每对

690

4K
4/8
10-80K

114片

38x65

5.3
95x110x117
6P3P,FU7,EL34,,KT88并管
不锈钢盖1080

每对

960

8K/10K可变
4/8
10-80K

114片

38x65

5.3
95x110x117

805,845,211,813,GM70

本厂电路图 T1E-805推挽

不锈钢盖1080

每对

960

8K/10K可变
4/8
10-80K

114片

38x75

6.2
95x120x117

805,845,211,813,GM70

本厂电路图 T1E-805推挽

不锈钢盖1220

每对

1100

8K/10K可变
4/8
10-80K

132片

44x80

8.7
132x110x130

805,845,211,813,GM70

本厂电路图 T1E-805推挽

立式

售完

初级P-B阻抗10KΩ

初级电感32H

电流15MA

直流内阻1030Ω

次级1-2+3-4
阻抗10KΩ

电压比2:1+1

次级1-2电感8H
电流15MA
直流内阻515Ω
次级3-4电感8H
电流15MA
直流内阻515Ω

10-50K

78片

22x32

1.28
67x65x82



可用: 6SN7/6N8P/6N6/6C5P/12AU7/

6SJ7/6Ж4/6Ж8/6AC7/6J8P/6л9/

推动300B/211/845/833/单端功放

推动EL34/KT88/300B/推挽功放

胆前级,无源前级,推动,平衡出.

/

每对

638

10K/15MA

电压比1:1

10K/15MA

10-50K

66片

22x28

0.77
67x61x58

可用6SN7,6N8P,6C5P,6J5,12AU7,6SJ7三极接法做

胆前级,无源前级,推动,平衡出.

包夹式

清仓价

每对

388

10K/15MA

电压比1:1

10K/15MA

10-50K

66片

22x28

0.77
67x61x58

可用6SN7,6N8P,6C5P,6J5,12AU7,6SJ7三极接法做

胆前级,无源前级,推动牛

*

包夹式

清仓价

每对

388

图1

图2

3K/3.6K/0.1A
600Ω+600Ω
10-50K

78片

22x32

1.28
67x65x82

可用:6V6/6P3P/6P14/EL34/2A3/300B推动

推挽或单端

胆前级,无源前级,推动,平衡出.

本厂实机电路图:FC-6C33C
OTL无输出牛分体纯后级

/

每对

638

3.5K/0.1A

电压比1:1+1

3.5K+3.5K

/0.1A

10-50K

66片

22x28

0.81
67x58x58

 

可用:6V6/6P3P/6P14/EL34/2A3/300B 推动

6N5P/EL34/KT88/211/845/813/833推挽或单端

 

包夹式

清仓价

每对

388

图1

图2

本厂实机电路图:2A3/300B推211/845.

初级P-B阻抗3.5KΩ

初级电9.6H

电流100MA

直流内阻240Ω

次级1-2,阻抗3.5KΩ
次级3-4,
阻抗3.5KΩ

电压比1:1+1

次级1-2电感9.6H
电流100MA
直流内阻240Ω

次级3-4电感9.6H
电流100MA
直流内阻240Ω

10-50K

78片

22x32

1.28
67x65x82
可用:6V6/6P3P/6P14/EL34/2A3/300B 推动

6N5P/EL34/KT88/211/845/813/833/FU80/FU81

推挽或单端

本厂实机电路图:2A3/300B推211/845.

/

每对

638

图1

图2

本厂实机电路图:2A3/300B推211/845.

初级P-B阻抗3.5KΩ

初级电感15H

电流50MA

直流内阻420Ω

次级1-2+3-4
阻抗3.5KΩ

电压比2:1+1

次级1-2电感4.2H
电流50MA
直流内阻210Ω

次级3-4电感4.2H
电流50MA
直流内阻210Ω

10-50K

78片

22x32

1.28
67x65x82

可用: 6N8P/6N6/6C5P/12AU7/6SJ7/6Ж4/

/6л9/6V6/6P3P/6P14/EL34/2A3/300B

推动300B/211/845/833/FU80/6N5P单端功放

推动EL34/KT88/300B/推挽功放

胆前级,无源前级,推动,平衡出.

本厂实机电路图:2A3/300B推211/845.

/

每对

638

RB-7推挽推动

上无27厂

8K[P1-P2,电感15H]

[内阻178Ω]

3.5K[1-4电感6.5H/内阻59Ω]
10-80K
/
1.6
ф85x95

6V6,6P14,2A3推挽推动/EL34,KT88,

FU7,845,211,813,

可用做:胆前级,无源前级.

铁壳密封

每对

300

2K[B-P]

电压比

125Ω+125Ω

15-40K
22x38
1.45
67x67x82
有1对
立式

清仓价

每对

330

8K[P1-B-P2]

电压比

3K+3K

15-40K
22x38
1.5
67x67x82
有2对
立式

清仓价

每对

330

拆美国军机牛661561

胆前级

照1

照2

照3

照4

出线图

电路1

电路2

电路3

自定出线头1-2-3/估计阻抗30K,出线头2是中心头,

实测电感30H-50H/内阻/3K-3.6K

自定出线头

4-5-6/估计阻抗25K,出线头5是中心头,

实测电感18H-40H/内阻2K-2.5K

实测频响大于20-40K
 
0.16
ф38x55

可用做:

胆前级,无源前级,推动,升压,平衡入,平衡出.


本厂实机型:DT-561
美国传输变压器无源前级

本厂实机型:Q3D-3

实用胆牛前级电路图


铁壳密封

每对

360

拆美国军机牛661712

照1

照2

照3

照4

出线图

电路1

电路2

电路3

自定出线头1-2-3-4/估计阻抗10K,出线头2是中心头,

实测电感大于4H/内阻470欧-530欧

自定出线头4-5-6-7/估计阻抗2K

实测电感大于4H/内阻/145欧-165欧。

实测频响大于30-40K

 

 
0.16
ф38x55

可用做:

胆前级,无源前级,推动,升压,平衡入,平衡出.

本厂实机型:Q3D-3

实用胆牛前级电路图

铁壳密封

每对

360

拆机比利时牛

1202-2

电路1

电路2

19K/电感4.6H/内阻680Ω/DC 5MA0.9W

600Ω/内阻16Ω

实测频响大于20-30K

  0.15
30x30x50

可用做:

胆前级,无源前级,推动,升压,平衡入,平衡出.

本厂实机型:Q3B-1

实用胆牛前级电路图-1

实用胆牛前级电路图-2

铁壳密封

每对

260

电路1

22K/电感3H-6H/内阻1.6K-1.8K/DC 10MA/0.14W

5.2K/电感0.9H-2H/内阻570Ω-670Ω

600Ω/内阻20Ω-27Ω

实测频响大于20-20K

  0.051
22x22x40

可用做:

胆前级,无源前级,推动,升压,平衡入,平衡出.

铁壳密封

每对

120

电路1

19K/电感5.6H/内阻1.7K-1.9K/DC 10MA/1.3MW
190Ω/内阻230Ω/30Ω/内阻4.5Ω 实测频响大于20-20K   0.051
22x22x40

可用做:

胆前级,无源前级,推动,升压,平衡入,平衡出.

唱头升压,耳放
铁壳密封

每对

120

                     

变压器端盖有横装(横出线孔)、立装(下出线孔)、卧装(无出线孔),购盖时请注明出线孔.

本厂可按顾客要求订做输出牛(电源牛),按相应功率每对(每只)单价增加20%生产制作费用, 款到20日内发货。

 
 
本厂编号
特价清仓:电源牛,传输牛,扼流圈,输出牛
存量/只

单价/元/只

*A62

用作矿石收音机阻抗匹配牛,声音宏亮清晰。

可用做DIY:

胆前级,无源前级,推动,升压.

美国电源牛 M6382,115V/400HZ, (不能用中国50HZ电源)2.5V/0.1A,115V/0.1A,70V/0.5A,52V/1A,2.7V/0.01A,重量0.7Kg

用作矿石收音机阻抗匹配牛,声音宏亮清晰。

18只
20

用作矿石收音机阻抗匹配牛,声音宏亮清晰

电路图

可用做DIY:

胆前级,无源前级,推动,升压.

拆美国机电源牛 初级:115V/400HZ(不能用中国50HZ电源),

次级:300V-0-300V/0.01A,6.3V/0.6A,23V/0.15A.重量0.43Kg

用作矿石收音机阻抗匹配牛,声音宏亮清晰

尺寸(长x宽x高) 70x50x45mm

出线图

电路图

有量
22
A1
 

美国铁封电源牛,初级110V×2 /次级 21V,0.95A/25V,0.675A/18.5V,0.095A/6.3V,0.5A/4V,2A

重量3.36Kg. 照1, 照2, 照3. 有一个.

1

65

清仓价

A2
 

美国铁封电源牛,初级115V×2 /次级 / 220V / 115V / 20V / 32V / 22V / 88V / 6.3V

不清楚电流值的大小.重量3.6Kg. 照1, 照2, 照3. 有一个.

1

65

清仓价

A3
  美国铁封电源牛,有13个接线头,不清楚电压值的大小.重量5.2Kg. 照1, 照2, 照3 有一个.
1

60

清仓价

A4
 

美国铁封电源牛,初级115V×2 /次级 300V,200MA/ 312V,50MA /0V-167V-205V,0.25A/6.3V,0.9A

重量3.6Kg. 照1, 照2, 照3. 有一个.

1

90

清仓价

A5
 
美国铁封扼流圈,重量4.7Kg.内阻110欧,实测电感10H,估计电流0.35A.
1
220
 
*A42
  美国传输牛 ADC A11537,400mH/400mH,重量0.1Kg
1
20
 
*A47
  美国传输牛 GO3A26-PF,600Ω/8Ω,重量0.1Kg
1
20
 
*A48
  美国传输牛 677-0617,600Ω/1500Ω,重量0.14Kg
1
30
 
*A55
  美国传输牛 FAM.13 10000Ω/8Ω,重量0.24Kg
1
80
 
*A56
  美国传输牛 UTRAD2121,460Ω/7800Ω,重量0.15Kg
1
30
 
*A57
  美国传输牛 UTC CR-725,100Ω/600Ω,重量0.29Kg
1
30
 
*A58
  美国传输牛 UTC LML-1000,重量0.23Kg
1
20
 
*A60
  美国传输牛 CWS572221,600Ω/10000Ω重量0.21Kg
1
30
 
*A61
  美国传输牛 TF4RX17YY,180Ω/600Ω重量0.12Kg
1
20
 
*A63
  美国电源牛 FEI-1270-63B 115V/60HZ, 34V/0.5A,12V/0.05A,重量0.55Kg
2
70
 
*A64
  美国电源牛 UTC JS-512 115V/400HZ,8.25V-12V-0/4A,0-12V-8.25V/4A,重量0.32Kg
1
40
 
*A65
  美国电源牛 HS-402 115V/400HZ, 475V/20MA,6.3V/1.5A,重量0.27Kg
1
30
 
*A66
  美国电源牛 M6381,115V/400HZ, 2.5V/0.1A,2.5V/0.1A,,115V/0.1A,60V/0.1A,重量0.7Kg
4
40



联系人:黄庆新
手机微信:13977517582 电话:0775-2380646 邮编537000
地址:广西玉林市玉州区城北平安街28号 宝尔真电子
农业银行玉林分行:金穗卡: 陈美坤 6228480840056843112
工商银行玉林分行:牡丹卡: 黄庆新 6222022111003728386
网址[1]:www.bezdz.net 网址[2]:宝尔真电子
邮箱[1]: 2380646@163.com
在淘宝网设立网上直销店,欢迎使用淘宝网来交易.
http://shop33825265.taobao.com

联系人:黄越 手机微信:13877538053