首页BEZ

胆牛前级

2A3/300B/6C33C

胆功放

211/805/845/GM70

胆功放


807/813/EL34/KT88/
EL156/FD422/FU19/
FU25/FU50/

胆功放

喇叭 

6P1-6P3P-6P6P-6P9P-6P14-6P12P-6P13P-6N5P-6F3
胆功放/耳机功放

机箱/盘架/机盒/机板/螺钉螺母垫片/金属件

电影 喇叭
放映机
扩音机
分频器

晶体管 杂件

唱机 唱片 磁带

电子管及管座管帽

电容电阻电位器

胆机输出牛电源牛扼流圈

牛罩牛盖

发烧线材接插件及旋钮

 

古董收音机收信发射机及配件

 

 116型短波150W发射机 222-1短波收信机拆件

发射机高频高压-电容-线圈-开关-配件拆件

7512型接收机拆件

指示灯座灯泡

电子仪器仪表

胆前级 成品机、系列专版 -------------刷新于2026-01-02日

***推出最新款胆机成品机、套件系列产品,用最新的胆机发烧理念精心设计,用最新高档型拉丝不锈钢底盘.采用了先进的工艺制、采用搭棚焊接,所用阻容元件经精心挑选,电子管老练配对调试上机。,声音通透纯真,音色甜美温醇,解晰力度感颇佳,外形美观大方。为广大胆烧友首选。产品远销世界各地。

 

 
前级放大器
照片/电路
**
用管及配制(均采用搭棚焊接)
电源牛 价格

Q3A-1

拆美国军用胆机前级牛做的前级

拆美国军机牛661561

拆美国军机牛661712

用军用胆机前级牛做的前级,好处是在全频段内有恒定的线路阻抗,可将CD的数码声隔离并消除。使高中音透明清纯柔顺,细节丰富生动,音色美妙迷人,低音结实有力,解晰力,声场营造等方面是RC耦合电路无法比拟的。

照1

照2

照3

电路

 

信号放大6DJ8 X2,可直换/ECC88/6N1/6N6/6N11/6922/6H30/ECC85

稳压 WY4P X1,可直换/VT-139/OD3

整流 5Z2P X1,可直换5Z4P/5Z3P/5U4/U52/5Y3/5V4

西电红美人电容耦合。

优质菠萝格木做面板,不锈钢盘,外形尺寸:长深高(CM) 23X42X14

整机重7.3KG ,加包装重10.5KG

80W

售完

Q3D-2

拆美国军用胆机前级牛做的前级

拆美国军机牛661561

拆美国军机牛661712


是宝尔真电子精心打造独创的系列前级之精品
用胆管2A3B做成超级高精确稳压电源
使音质音色更通透纯真更甜美温醇解晰力
和力度感颇佳声场开阔纵深感好
极高的信噪比

照1

照2

照3

电路

 

美国传输牛,不平衡或平衡输出。
信号放大,12AU7 X2,可直换12AT7/ECC81/ECC82/5963
稳压调整 2A3B X1, 可直换300B/2A3/2A3C
稳压放大 6C5P放大 X1,可直换/6J5/6C5
基准 WY2P X1, 可直换/OA3
整流 5Z3P X1 可直换5Z2P/5Z4P/5Z3PAT/5U4G/U52/5Y3/5V4
3组输入选择。
西电红美人电容耦合,
优质菠萝格木做面板,不锈钢盘,外形尺寸:长深高(CM) 23X49X19
整机重10.5KG ,加包装重14KG

180W

售完

拆美国军用胆机前级牛20K/10K/661561

本厂实机型:Q3A-1

本厂实机型:Q3D-2

用军用胆机前级牛做的前级,好处是在全频段内有恒定的线路阻抗,可将CD的数码声隔离并消除。使高中音透明清纯柔顺,细节丰富生动,音色美妙迷人,低音结实有力,解晰力,声场营造等方面是RC耦合电路无法比拟的。

照1

照2

电路1

电路2

出线图

 

可用做:胆前级,无源前级,推动,升压,平衡入,平衡出.

初级/自定出线头1-2-3/估计阻抗30K,出线头2是中心头,

实测电感30H-50H/内阻3K-3.6K

次级/自定出线头4-5-6/估计阻抗25K,出线头5是中心头,

实测电感18H-40H/内阻2K-2.5K。实测频响大于20HZ-40KHZ。

0.16KG

ф38x55

一对

360元

拆美国军机胆机牛10K/2K/661712

本厂实机型:Q3A-1

本厂实机型:Q3D-2

 

照1

照2

电路1

电路2

出线图

 

可用做:胆前级,无源前级,推动,升压,平衡入,平衡出.

初级/自定出线头1-2-3-4/估计阻抗10K,出线头2是中心头,

实测电感大于4H/内阻470欧-530欧。

次级/自定出线头4-5-6-7/估计阻抗2K

实测电感大于4H/内阻145欧-165欧。

实测频响大于20HZ-40KHZ。

0.16KG

ф38x55

一对

360元

拆比利时军机胆机前级牛19K/600Ω/1202-2

用军用胆机前级牛做的前级,好处是在全频段内有恒定的线路阻抗,可将CD的数码声隔离并消除。使高中音透明清纯柔顺,细节丰富生动,音色美妙迷人,低音结实有力,解晰力,声场营造等方面是RC耦合电路无法比拟的。

电路1

电路2

 

可用做:胆前级,无源前级,推动,升压,平衡入,平衡出.

初级/19K/电感4.6H/内阻680Ω

次级/600Ω/内阻16Ω

实测频响大于20HZ-30KHZ。

0.15KG

30x30x50

一对

358元

拆比利时军用胆机前级牛22K/5.2K/600Ω/1203-2

 

 

 

可用做:胆前级,无源前级,推动,升压,平衡入,平衡出.

级/22K/电感3H-6H/内阻1.6K-1.8K

次级[1]/5.2K/电感0.9H-2H/内阻570Ω-670Ω

次级[2]/600Ω/内阻20Ω-27Ω。

实测频响大于20HZ-20KHZ

0.05KG

22x22x40

一对

138

拆比利时军用胆机前级牛19K/190Ω/30Ω/1205-2

 

 

可用做:胆前级,无源前级,推动,升压,平衡入,平衡出.

初级/19K/电感5.6H/内阻1.7K-1.9K

次级/190Ω/内阻230Ω/30Ω/内阻4.5Ω。

实测频响大于20HZ-20KHZ

0.05KG

22x22x40

一对

138

Q3B-1

比利时传输牛前级

拆比利时军用胆机前级牛1202-2

 

照1

照2

照3

电路

 

比利时传输牛平衡与不平衡传输

信号放大6DJ8 X2,可直换/ECC88/6N1/6N6/6N11/6922/6H30/ECC85

稳压 WY4P X1,可直换/VT-139/OD3

整流 5Z2P X1,可直换5Z4P/5Z3P/5U4/U52/5Y3/5V4

西电红美人电容耦合。3档输入控制。

优质菠萝格木做面板,不锈钢盘,外形尺寸:长深高(CM) 23X42X16

整机重7.3KG ,加包装重10.5KG

80WB 售完

 

Q3D-3

拆美国军用胆机前级牛做的前级

这台精心打造独创的系列前级之精

用胆管2A3B做成超级高精确稳压电源

使音质音色

更通透纯真

更甜美温醇

解晰力和力度感颇佳

声场开阔纵深感好

极高的信噪比

 

照1

照2

照3

照4

照5

照6

电路

 

美国传输牛:不平衡或平衡输出。

信号放大:12AU7 X2,可直换ECC82/5963/5814/12AT7/ECC81

稳压调整:2A3B X1, 可直换300B/2A3/2A3C

稳压放大:6C5P放大 X1,可直换/6J5/6C5

基准:WY2P X1, 可直换/OA3

整流:5Z3P X1 可直换5Z2P/5Z4P/5Z3PAT/5U4G/U52/5Y3/5V4

2组输入选择

美国油浸电容耦合

国产油浸电容电源滤波音色音质优于电解电容

优质菠萝格木做面板,不锈钢盘,外形尺寸:长深高(CM) 23X49X19

整机重10KG ,加包装重14KG

180WA5

售完

Q3C-3

比利时胆机前级传输前级

照1

照2

照3

电路

 

比利时传输牛,不平衡或平衡输出。

西电红美人电容耦合3档输入控制。

信号放大6DJ8 X2,可直换/ECC88/6N1/6N6/6N11/6922/6H30/ECC85

由2A3 X1,稳压调整(可直用300B),

6C5P放大 X1,WY2P基准 X1,5Z3P整流 X1。

优质菠萝格木做面板,不锈钢盘,外形尺寸:长深高(CM) 23X50X20

180W

售完

Q3B-1

比利时传输牛前级

照1

照2

照3

电路

 

比利时传输牛平衡与不平衡传输

信号放大6DJ8 X2,可直换/ECC88/6N1/6N6/6N11/6922/6H30/ECC85

稳压 WY4P X1,可直换/VT-139/OD3

整流 5Z2P X1,可直换5Z4P/5Z3P/5U4/U52/5Y3/5V4

西电红美人电容耦合。3档输入控制。

优质菠萝格木做面板,不锈钢盘,外形尺寸:长深高(CM) 23X42X16

整机重7.3KG ,加包装重10.5KG

80WB

售完

Q3B

1202-2/19K/600Ω

1655-2/7.6K/600Ω

比利时传输牛

前级

照1

照2

照3

电路

 

比利时传输牛平衡与不平衡传输

信号放大6DJ8 X2,可直换/ECC88/6N1/6N6/6N11/6922/6H30/ECC85

稳压 WY4P X1,可直换/VT-139/OD3

整流 5Z2P X1,可直换5Z4P/5Z3P/5U4/U52/5Y3/5V4

3档输入控制。

不锈钢盘,外形尺寸:长深高(CM) 23X42X16

80WB 售完

DT-561

美国传输变压器无源前级

电压比 1:1.3

适用于各种阻抗

600Ω至50KΩ

的音源和放大器音效超提升.

图1

图2

图3

图4

图5

  拆美国50-60年代军机传输变压器编号 661561

实测频响20-30K (+ -2.5dB)

优质菠萝格木做面板,不锈钢盘,

外形尺寸:长深高(CM) 20X23X10。整机重2.2KG ,

加包装重4KG *

/ 980元

DT-712

美国传输变压器无源前级

电压比 1:1.3

适用于各种阻抗

600Ω至50KΩ

的音源和放大器音效超提升.

 

图1

图2

图3

 

  拆美国50-60年代军机传输变压器编号 661712

实测频响20-30K (+ - 1dB)

优质菠萝格木做面板,不锈钢盘,

外形尺寸:长深高(CM) 20X23X10。整机重2.2KG ,

加包装重4KG *

/ 980元

DT-100A

传输变压器无源前级

标称阻抗比10K:10K

电压比 1:1.

适用于各种阻抗

600Ω至50KΩ

的音源和放大器音效超提升.

图1

图2

图3

 

采用日本新日铁公司冷轧无取向高硅H10/0.35EI音频专用片,

线包采用优质无氧铜漆包线,特别工艺精心绕制.

标称阻抗比10K:10K/电压比 1:1.

音频工作电压:0-50V AC.

频响10HZ-40KHZ (-1dB)

初级电感36H/内阻450Ω

次级电感36H/内阻450Ω

优质菠萝格木做面板,不锈钢盘,
外形尺寸:长深高(CM) 20X23X10。整机重3.4KG ,加包装重5KG *

/ 1080元
Q4B 三极管前级

照1

照2

照3

电路

 

6N8P两只,WY3P,WY4P,5Z4P各一只,电感滤波,不锈钢盘

80W 售完

 

 

 

 

Q6A前级

低重心设计

今推出的这部前级在欧美是发烧友宠爱的线路

 

使音质音色

更通透纯真

更甜美温醇

解晰力和力度感颇佳

声场开阔纵深感好

极高的信噪比



照1

照2

照3

照4

照5

照6

原本照

原本电路

现电路

 

精心挑选

胆管阻容元件精确测量配对,确保左右声道高精确平衡输出。

胆管:

6N8P X4 可直换6SN7/6N12P/6H8C

WY4P X2 可直换OD3/VT-139

5Z4P X1 可直换5Z2P/5Z3P/5U4/U52/5Y3/5V4

电阻 堪称世界级精品的中国军工“大红炮”金属膜电阻

(纯铜镀银引线,噪声低,音质佳).

耦合电容: 美国西电,美国斯碧油浸

滤波电容: 中国精品和平牌电解,飞利浦电解,美国油浸

12uf油电容耦合超低阻抗两组RCA插座输出,可同时推动4台功放.

优质菠萝格木做面板,不锈钢盘,外形尺寸:长深高(CM) 23X50X20

整机重11.8KG ,加包装重14KG

高品质全

密封军用

7512型

收讯机

12胆管电源牛

120W

售完

Q1A-J1 前级

照1

照2

电路

 
6J1两只 放大,6Z5P整流,铝底盘
四灯牛

售完

Q1A-N3-1 前级 照1

照2

电路

 
6N3两只 放大,6Z5P整流,WY1稳压,铝底盘
四灯牛 售完
Q1A-N8-1 前级 照1

照2

电路

 
6N8P两只 放大,6Z4整流,铝底盘
四灯牛 售完
Q1A-C8-1 前级

1

照2

照3

 
6C8P两只 放大,6Z4整流,铝底盘
四灯牛

售完

Q1A-D 直热管 前级

照1

照2

电路

 
美3D6直热管,两只 放大,6Z5P整流,电池供灯丝,铝底盘

四灯牛

售完

Q1A-S 直热管 前级

照1

照2

 

 
美3S4直热管,两只 放大,6Z5P整流,WY1稳压电池供灯丝,铝底盘

四灯牛

售完

Q1A-N1-1 前级

照1

照2

照3

电路

 
6N1两只 放大,6Z4整流,铝底盘
四灯牛
售完
Q1A-U-1 前级

照1

照2

照3

电路

 
12AU7两只 放大,6Z4整流,铝底盘
四灯牛 售完
Q2B 三极管 前级

照1

照2

照3

电路

 
6N3,6N4各两只,WY1,WY2,6Z4各一只,油电容耦合电感滤波,不锈钢盘
80W

售完

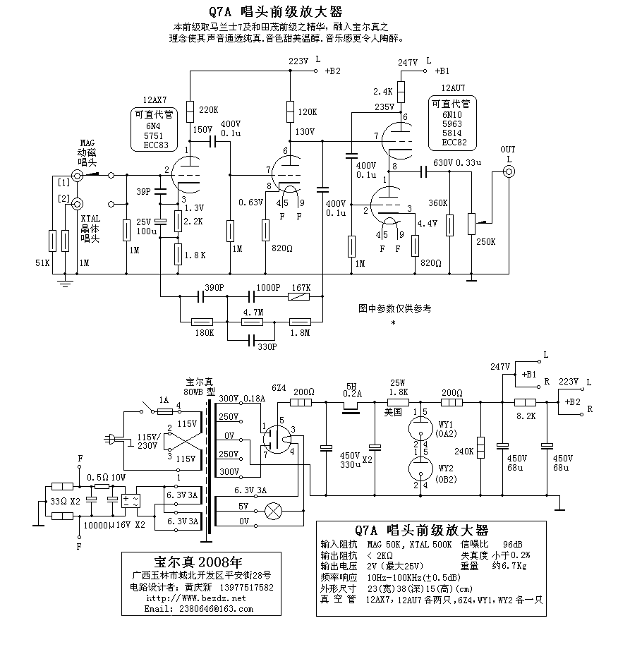
Q7A 唱头前级放大器

照1

照2

3

照4

照5

路图

 
12AX7,12AU7各两只,,6Z4,WY1,WY2各一只,电感滤波,不锈钢盘
80W 售完

联系人:黄庆新
手机微信:13977517582 电话:0775-2380646 邮编537000
地址:广西玉林市玉州区城北平安街28号 宝尔真电子
农业银行玉林分行:金穗卡: 陈美坤 6228480840056843112
工商银行玉林分行:牡丹卡: 黄庆新 6222022111003728386

网址[1]:www.bezdz.net 网址[2]:宝尔真电子
邮箱[1]: 2380646@163.com
在淘宝网设立网上直销店,欢迎使用淘宝网来交易.
http://shop33825265.taobao.com

联系人:黄越 手机微信:13877538053